24億円が流出したHarvest Financeへのフラッシュローン攻撃の解説
2020年11月02日
この記事を簡単にまとめると(AI要約)
目次
- 前提
- 概要
- Harvest上で発生した資金流出の全貌
- コードのバグではない資金流出にどう対処するか
- 総論
前提
本レポートではHarvest Finance(以下Harvest)上で発生した資金流出の概観を行います。HarvestはユーザーがデポジットしたUSDCやWBTC等のアセットをCurve等で運用し、運用先の独自トークンとHarvestの独自トークンFARMを付与するサービスです。DeFiのファーミングにはある程度の専門知識と調査時間が必要であるため、指定されたアセットをデポジットしておくだけでファーミング作業を代行してくれるサービスには需要があり、独自トークンの価格も比較的高い水準を保っていました。
しかし、今回の流出を受けて独自トークンFARMは50%以上下落し、TVL(Token Value Locked:プラットフォーム上にデポジットされているトークン時価総額)も大幅に減少しました。今回の出来事は「2社によるコード監査を受けているプロダクトでも大きな資金流出が発生する可能性はある」、「マネーLEGOの構造によって攻撃手法が多様化しており、単純なコードのバグではない資金流出もあり得る」などいくつかの事実を界隈に示したという点で注目に値します。
今回発生した資金流出はフラッシュローンを利用したものです。
概要
- 10月26日、USDCとUSDTのVaultからの資金流出が発覚。資金を流出させた手口はHarvestにデポジットされたステーブルコインの運用先として利用されていたCurveのY poolを利用したもの。
- Harvestの運用戦略は、プラットフォームに預けられている資産の時価を計算し、その数値を基に新規ユーザーがプラットフォームに資産を預けたときに、いくらの債権トークンが新規発行され割り当てられるかを決定する。同様にユーザーが預けた資産を引き出すときにも利回りを含めた引き出し額を計算するために、プラットフォーム上の資産時価が利用される。
- 運用先として利用されていたCurveは、アービトラージやImpermanent loss、スリッページなどの市場の影響を受ける。
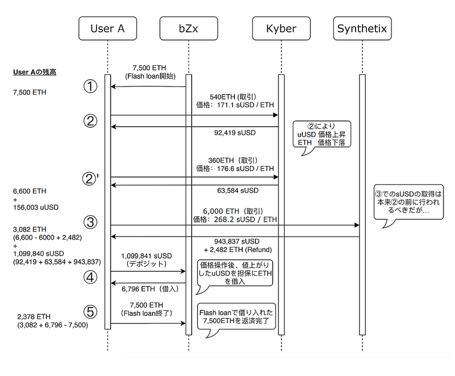
フラッシュローンを利用した攻撃は以前にもbZxに対して行われています。
*参照レポート:オラクル利用のレンディングプラットフォームからETHを掠め取るハッキング事例
https://hashhub-research.com/articles/2020-02-24-defi-oracle-attack
*参照レポート:オラクル利用のレンディングプラットフォームからETHを掠め取るハッキング事例
https://hashhub-research.com/articles/2020-02-24-defi-oracle-attack
続きは有料会員限定です
- 月額 9,990円〜で国内最大級のWeb3リサーチが読み放題
- DeFi / NFT / DAOなど2,000本以上のレポートを網羅
- 投資判断や事業検討に使える実務視点の分析
- 基礎から最新動向までプロフェッショナルな情報にアクセス
すでにご登録済みの方は
無料会員登録は
【PR】 SBI VCトレードの口座をお持ちのお客さまは
口座をお持ちでない方はこちら >
※免責事項:本レポートは、いかなる種類の法的または財政的な助言とみなされるものではありません。